Apple всё еще думает о 3D-дисплеях

В этот раз у нас не так уж много новых патентов от «яблочной компании», но каждый из них достоин самого пристального внимания. Популярность 3D-экранов начинает падать. По мнению Apple, большинство стереоскопических дисплеев непрактичны и не подходят для ежедневного использования. Пользовательские отзывы о 3D без очков, используемого в приставке Nintendo 3DS, недвусмысленно намекают о несовершенстве этой технологии. У Apple есть, что предложить взамен.
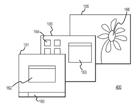
Прозрачные экраны — лишь одна из многих идей Apple по увеличению возможностей дисплеев мобильных устройств. Другая, еще более любопытная технология — дисплеи с несколькими прозрачными слоями, использование которых позволяет отобразить 3D-картинку без нужды использования специальных очков. Каждый из таких слоёв управляется отдельным процессором и способен затемняться до непрозрачного состояния.

Использование OLED-панелей имеет свои преимущества перед традиционными дисплеями, потому как панели OLED не требуют подсветки для функционирования и потому могут быть намного тоньше и легче, чем обычный LCD-экран. OLED-панели способны отображать глубокий чёрный цвет и имеют высокую контрастность.
— Apple

Однако полностью от LCD-экранов пока отказаться невозможно. Самый дальний от пользователя слой экрана не будет выполнен по технологии OLED и будет представлять из себя обычный дисплей. Остальные слои будут отвечать за 3D-эффекты. Если взять за пример OS X, панель меню и открытые программы будут отображаться на разных панелях. При переключении на какое-либо приложение, все лишние элементы на экране будут перемещаться на дальний дисплей и затемняться. Иными словами, это не совсем то 3D, которое мы видим в телевизорах и консолях в последние годы. Понимание всей системы функционирования такого «бутерброда» может придти только после глубокого анализа всего текста патента.